Design
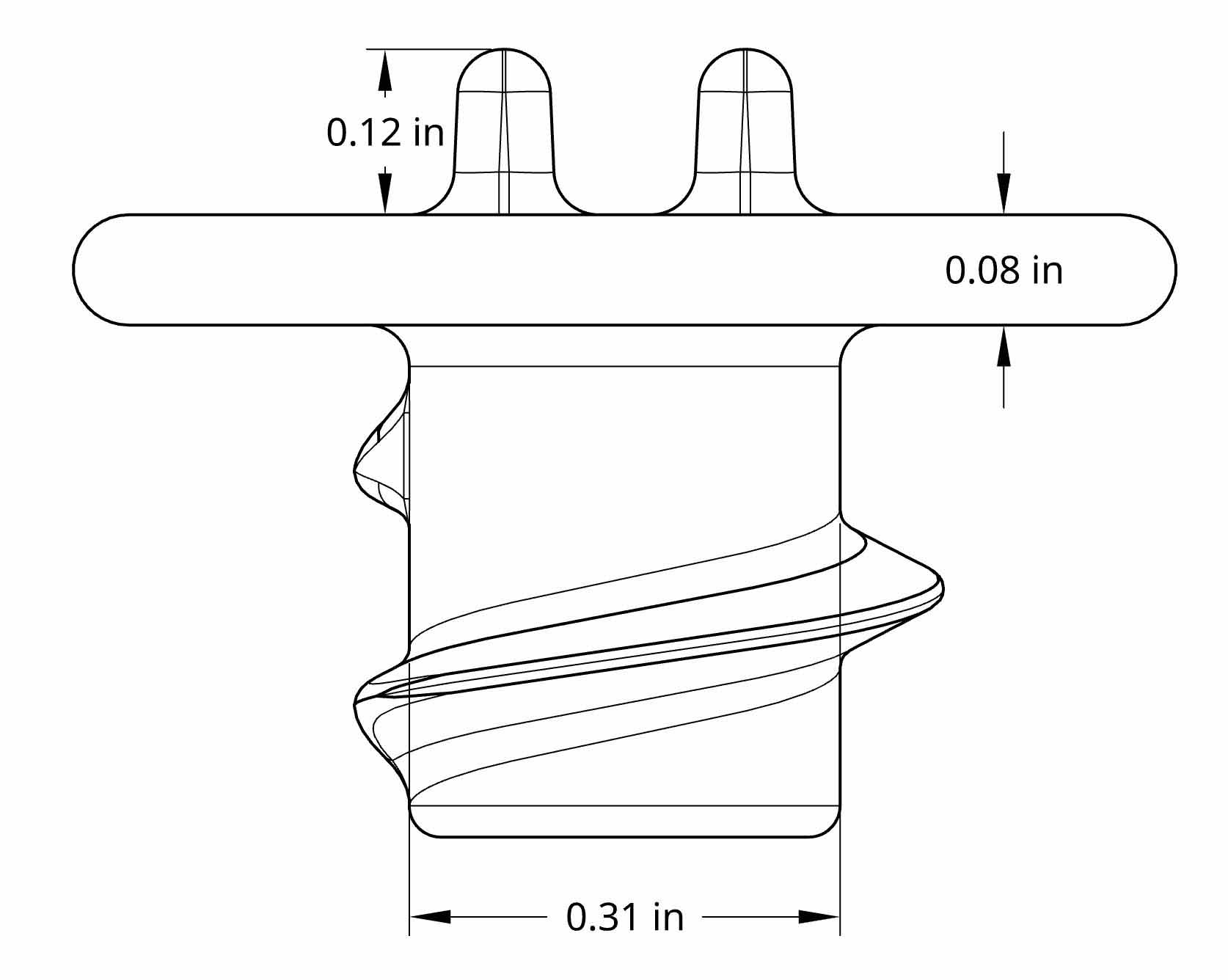
Product specifications are shown below.
Holder
Cap
Remover
Product specifications are shown below.
© Copyright Stuck At Home LLC. All Rights Reserved